НК-В
Описание прибора
Стоимость: 229 р.
Срок поставки: Снято с производства
Наконечник вилочный изолированный НК-В для оконцевания медных проводов. Используются при монтаже электрических узлов, где предусмотрено соответствующее крепежное соединение на основе винтовой фиксации.Технические характеристики:
Версия: 2014-11-12-КВА
| Модель
| Сечение проводника, мм² | Диаметр отверстия
под контактный болт, мм | Max сила тока, А
| Цвет изоляции
|
| НК-В1.25-5
| 0,5...1,5
| 5,3
| 19
| Красный
|
| НК-В2-5
| 1,5...2,5
| 5,3
| 27
| Синий
|
| НК-В5.5-4
| 4...6
| 4,3
| 48
| Желтый
|
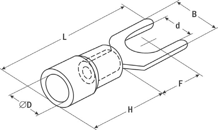
| Габаритные размеры |
![]() |
| Модель
| Размеры, мм
| |||||
| B
| ∅ D | d | F | H | L | |
| НК-В1.25-5
| 8,1
| 4,3
| 5,3
| 6,5
| 10
| 21,2
|
| НК-В2-5 | 8,1 | 4,3 | 5,3 | 6,5
| 10
| 21,2 |
| НК-В5.5-4 | 9
| 6,7
| 4,3 | 7,5
| 13
| 25,2 |
Версия: 2014-11-12-КВА
Описание прибора
