ПВТ-7150
Описание прибора
Стоимость: 4914 ... 15782
р.
Срок поставки: Со склада
Пневматический турбинный вибратор ПВТ-7150 предназначен для создания механических колебаний, решающих задачи улучшения текучести сыпучих материалов. Применяется на конвейерах, в бункерах, желобах, воронках и т.д.
Принцип действия основан на возникновении вибрации с помощью центробежной силы в несбалансированном роторе.
Особенности:
Версия: 2016-02-04-КВА
Принцип действия основан на возникновении вибрации с помощью центробежной силы в несбалансированном роторе.
Особенности:
- Сила и частота вибрации регулируются с помощью давления поступающего воздуха
- Мгновенный старт и остановка работы вибратора
| Модель
| Частота колебаний в минуту
| Сила вибрации, Н
| Потребление воздуха, л/мин
| ||||||
| 0,2 МПа
| 0,4 МПа | 0,6 МПа | 0,2 МПа | 0,4 МПа | 0,6 МПа | 0,2 МПа | 0,4 МПа | 0,6 МПа | |
| ПВТ-7150-10 | 27 500
| 35 000
| 37 500
| 840
| 1390
| 2400
| 46
| 80
| 112
|
| ПВТ-7150-16 | 17 000
| 21 500
| 24 000
| 1220
| 2090
| 3160
| 120
| 200
| 290
|
| ПВТ-7150-25 | 12 000
| 15 500
| 17 000
| 2120
| 3510
| 5070
| 185
| 325
| 455
|
| ПВТ-7150-36 | 7800
| 10 000
| 13 000
| 3300
| 5000
| 7150
| 330
| 530
| 745
|
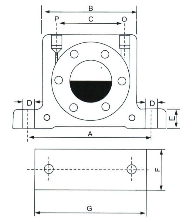
| Габаритные размеры |
![]() |
| Модель
| Размер, мм
| Вес, г
| |||||||
| A
| B
| C
| D | E | F
| G
| P/O
| ||
| ПВТ-7150-10
| 68
| 51
| 28
| 7
| 12
| 35
| 86
| ¼" | 280
|
| ПВТ-7150-16 | 90
| 66
| 39
| 9
| 16
| 43
| 113
| ¼" | 610
|
| ПВТ-7150-25 | 104
| 82
| 56
| 9
| 17
| 56
| 128
| ¼" | 1120
|
| ПВТ-7150-36 | 130
| 103
| 76
| 11
| 21
| 73
| 160
| ⅜" | 2150
|
Версия: 2016-02-04-КВА
Документация
Описание прибора



